项目智慧管理系统常见问题¶
系统的主要功能有哪些?入口在哪里?¶
★ 系统的主要功能有哪些
“项目智慧管理系统”的主要功能包括项目管理、商务部分管理、支出线管理、成本管理等五大板块,下分成本、物资、设备、分包、资金等十余个子业务功能;

★ 业务功能入口在哪里 登录“项目智慧管理系统”后,点击系统左上角“应用中心”可以看到系统中的完整功能板块和子业务入口

此处是系统中的完整业务入口,您可以从这里查看和创建各项业务数据; 需要您特别注意的是,每个业务入口右侧的“+”图标可以快速进入业务创建界面;

周转材验收后,为什么仓库中找不到?¶
因为租赁周转材验收后不进入仓库,是因为现场会验收后直接领用,可以在启停单进行启用或停用操作,每月自动计算月度租金办理结算;自有周转材是会进入仓库并进行领用操作的。
如何添加账号的功能权限?¶
如果需要添加/修改某个账号的功能权限,可以在“应用中心/平台中心”目录下的“角色权限”及“岗位管理”功能中为账号添加/修改功能权限; 另外,临聘或第三方人员未在人力资源系统中,需联系公司、项目或数科的系统管理员进行添加。


计划为什么不能录入多个同名的材料?¶
由于早期规划总计划是一次性提交所有材料的完整计划,所以系统设置了不能出现多个同名材料的规则;后续将会优化为按照材料进场批次进行总计划,在考虑了时间批次的情况下,将会支持对同一材料的多次计划。
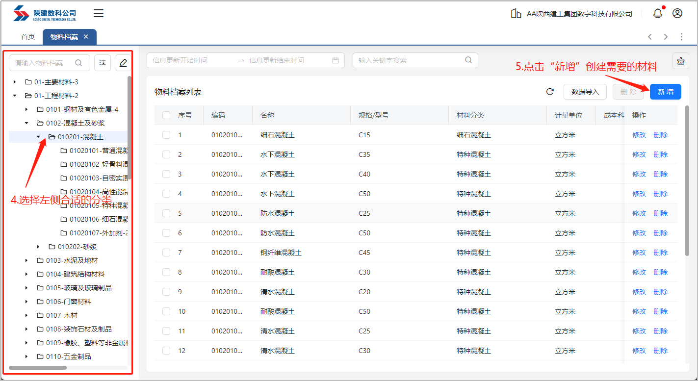
系统里没有需要的材料怎么新增?¶
业务过程中如果在物料档案中找不到需要的材料,可以在“应用中心/基础数据/物料档案”功能中增加这条材料。



项目管理 项目基本信息 施工单位信息来源?¶
施工单位信息来自iam组织管理,若没有对应的信息,联系iam管理员添加
收入管理 工程合同登记单 发包人来源?¶
发包人来源是基础数据内的客户库
收入管理 工程合同登记单 经办人来源?¶
经办人是所选项目下人员,iam组织里添加的人
收入管理 集团工程合同交底单 交底人,接收人,经办人来源?¶
交底人是全集团下的人;接收人、经办人是所选项目下人员,iam组织里添加的人
物资管理 周转材启/停单 合同信息来源?¶
物资管理 周转材启/停单 合同信息来自物资合同登记租赁 周转材的合同类型登记
物资登记入库选不到仓库信息?¶
物资登记入库前需要先创建对应的仓库信息
物料档案录入的时候是A3,保存后显示是答3?¶
浏览器英文自动翻译导致,关闭翻译插件,显示即可正常
先以无合同进场单录入了系统 现在合同下来了 想跟合同挂靠上怎么操作?¶
先录合同,确保新签的合同里面的档案和无合同进场的档案保持一致,然后结算时,选择这个合同,然后再去选择对应的无合同进场单;结算的时候会按供应商、合同类型和明细内容自动匹配
物资验收单 表单列的顺序和固定列使用不便,如何调整?¶
表单列的顺序和固定列用户可自主个性化设置
为什么给物资管理里选择成本科目时没有数据,如何添加成本科目?¶
切换到项目层,基础数据-基础档案-项目成本科目点击进去,右上角新增,可以选择至本项目中。

其他支出合同列表,单据状态是待提交 ,为什么点击进入还是无法编辑?¶
单据只能创建人自身账号才可编辑提交,其他账号无法编辑。
物资管理里物资验收单据可以删除么?¶
物资验收只能作废,可以作废单据,重新提交。
物资结算单里的施工时间和本次计量时间范围,这两个有啥区别吗?¶
一个是计量施工的时间范围,一个是计量结算时间范围,对实际结算没有影响,如果项目上的结算单中没有相关信息,可以不填写。
如何查看物资收发耗用结存表?¶
在物资管理-统计分析栏查看。 
成本科目分为多套,可以根据工程类型设置成本科目吗?¶
项目层有个项目成本科目功能,可以去选这个项目会用到集团的哪些成本科目,现在项目级允许在集团已有的成本科目下级再新建所需成本科目。
物资领料的核算对象无法自动带出,不选择核算对象无法提交?¶
需要先在基础数据里新建核算对象,新建完才可以选。 
任务单管理,分包任务单填写无误,保存的时候报错“程序出现错误,请联系管理员”。¶
任务单子表中的“部位名称”是必填项,但租户管理员通过页面改了非必填,导致报错,修改字段是否非必填得要提前评审确认才可。
物资验收清单不从合同里选,重新从物料档案选择的话,是否还会触发合同控验收这个预警?¶
会触发预警。