门户引擎¶
1、登录前门户页面中菜单的含义¶
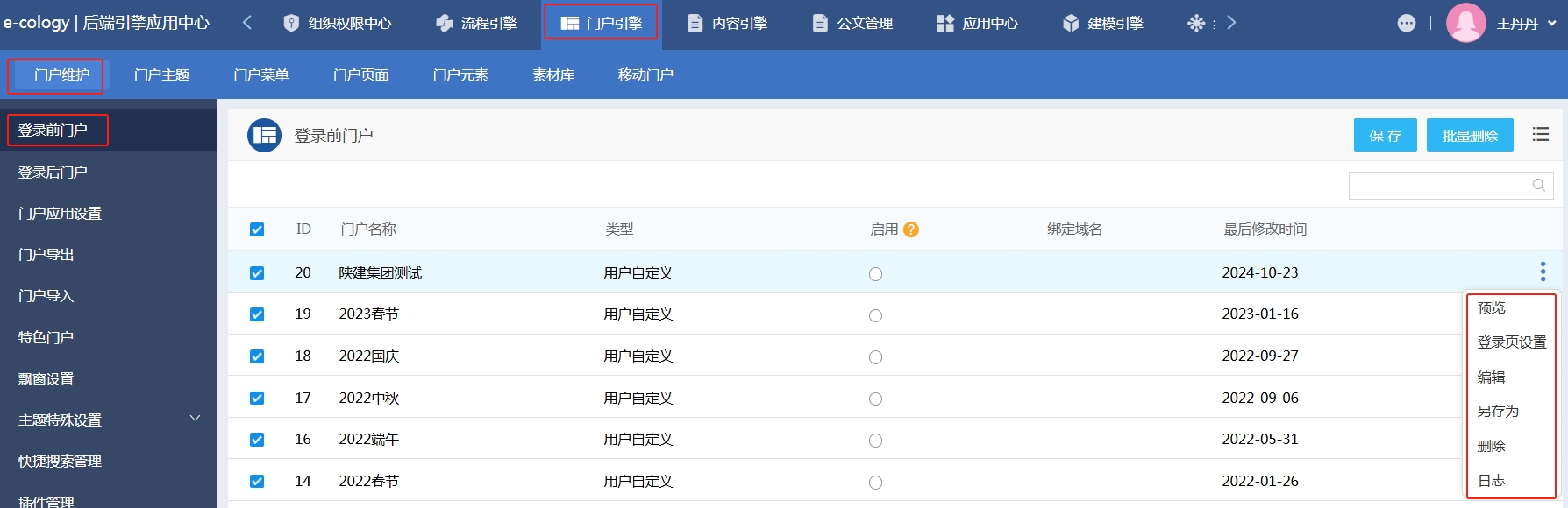
点击【登录前门户】菜单后显示如下,看到的是登录前门户列表

1)选中自定义的门户后点击【批量删除】按钮可以删除非系统默认登录前门户
2)在修改了【启用】门户之后需要点击图A1-1-1中的【保存】按钮才能生效,每次只能启用一个门户
3)列表菜单【预览】点击后在新的页面查看登录前门户的前台效果
4)列表菜单【编辑】点击后可以编辑门户的显示样式及内容
5)列表菜单【另存为】是以当前门户为模板创建一个自定义的登录前首页,登录前页面是没有【新建】按钮的,只能通过这种方式进行创建
6)列表菜单【登录页设置】点击后设置登录页面具体信息
2、如何设置前端的菜单显示¶
1)点击后端门户引擎→门户菜单→前端菜单,可以查看单位的前端菜单

2)勾选或取消对应的菜单,前端页面会根据对应的选择显示对应的菜单
3)菜单也可以设置对应的使用限制,添加对应的人员、部门、分部、岗位等

4)页面菜单含义如下:
①显示/隐藏:在每个菜单前端有选择框,选中表示菜单显示;
②添加:点击后在此菜单下添加下级菜单
③编辑:点击后编辑此菜单,如果是系统菜单能调整菜单打开方式和自定义显示名,如果是自定义菜单显示内容与添加菜单内容一致;

④删除:点击后可以删除此菜单,只有自定义菜单才能删除,系统菜单不能删除,只能隐藏,删除自定义会删除所有下级分部的此菜单,系统会给出提示,确认后菜单删除;

⑤限制使用:限定此菜单的访问权限,不添加表示此分部下所有用户可以访问,添加后只有指定人员才能访问,但是需要注意菜单本身是区分分部的,所以这里添加的人员要与菜单所属分部一致;
⑥同步:同步按钮,点击后可以将此菜单同步到其他分部;
⑦链接地址:只有自定义菜单中设置了链接地址后才会显示,点击会在新页面中打开设置的链接地址。
3、如何将现有单位的前端菜单,同步到别的单位?¶
菜单同步功能是将某个分部或总部菜单的设置同步到其它分部中,点击【将当前设置应用到】可以同步对应分部的所有菜单,在某个指定菜单点击【同步】可以单独同步此菜单及下级菜单
1)点击【将当前设置应用到】后显示,可以选择4种同步的方式,对应不同的同步内容

2)4种同步方式的使用范围如下:
①同步显示顺序:勾选后进行同步,会将当前菜单的显示顺序复制到选择的分部,反之则不同步顺序;
②同步是否隐藏:勾选后进行同步,需将当前菜单的显示/隐藏属性应用到选择的分部,反之则不同步;
③同步新增菜单:勾选后进行同步,需比对当前菜单与同步目标分部菜单的差异,目标分部菜单中没有的要直接新建菜单,不勾选则不进行菜单新建;
④同步使用限制权限:勾选并选择“追加”后进行同步,需将当前菜单中设置的【使用限制】复制添加到目标分部相应菜单中,目标分部相应菜单中原先设置的【使用限制】保留;勾选并选择“替换”后进行同步,则需将当前菜单中设置的【使用限制】复制添加到目标分部相应菜单中,同时删除目标分部相应菜单中原先设置的【使用限制】。
⑤同步所有子菜单:在同步单个菜单时,多出一个同步所有子菜单的选项,用于设置同步该菜单的所有子菜单。

4、前端页面添加菜单¶
1)点击右上角的添加按钮添加的是顶级菜单,在菜单上点击+添加的是下级菜单,点击后显示如下

2)添加菜单的对应菜单名称
①菜单名称:设置菜单的显示名称,这里是后台管理端的名称;
②顶部显示简称:在添加自定义顶部菜单时,可以设置显示简称,前台菜单名称默认只显示两个字;二级及以下子菜单可以不设;
③上级菜单:选择自定义菜单的上级菜单;
④链接地址:设置点击菜单后打开的页面,有3种链接可以选择
自定义URL:输入链接地址,如果外部地址必须输入带http://或https://的完整地址;
系统菜单:从浏览框中选择一个系统菜单作为自定义菜单地址,
系统页面:从浏览框中选择一个系统页面,如具体的文档、目录、流程等,
⑤打开位置:设置点击菜单后是以新窗口的方式打开还是在当前页面中打开;
⑥菜单图标:设置菜单的显示图标,菜单图标的展现方式由门户主题决定;图标可以从图标库中选择,切换为图片模式后,图标可以从图片素材库或本地选择图标上传,建议图片格式为png,图片大小为35*35;

⑦同步分部:选择是否将新添加的菜单同步到其它分部
不同步:保存时不将新增加的菜单同步到其它分部;
同步到下级分部:保存时将新增菜单同步到当前的下级分部,如果是在总部下添加的新菜单,选择此同步方式会将新菜单同步到所有的下级分部;
同步到指定分部:需要选择同步的分部,保存后会将新增菜单同步到指定分部菜单中。
3)链接地址选择【系统菜单】方式后,点击浏览按钮显示如下,选择一个且只能指定一个菜单作为此自定义菜单的链接地址,系统门户页面是管理员在门户页面中添加的门户。

4)链接地址选择【系统页面】方式后,点击浏览按钮显示如下,分为文档和流程两个部分
①文档:显示文档目录列表,点击组织机构按钮可以选择是否包含下级目录,开启后选中某目录之后下级目录也选中,不开启则只选中本目录
②流程:显示流程列表。
5、前端页面上端的按钮组¶
按钮组可选按钮为【显示/隐藏菜单】【批量修改上级菜单】【批量设置使用限制】以及【批量删除】

1)按钮组的菜单含义
①可切换菜单并进行相应的批量操作;
②选择【批量修改上级菜单】或【批量删除】时,系统默认菜单不可选中。
③选择【批量修改上级菜单】、【批量设置使用限制】或【批量删除】,所有菜单默认不选中,选择按钮时默认为灰色不可点击状态,只有当勾选菜单后,菜单为蓝色可点击状态。
④切换按钮组仅切换菜单的可勾选状态并进行对应的批量操作,不影响单个操作及同级拖拽排序等功能
2)选择按钮组中的【批量修改上级菜单】并勾选所要修改的菜单后,点击按钮即可进行批量修改操作
①选择上级菜单时,不能选择已勾选的菜单;
②当上级菜单为空时点击保存,所勾选的菜单将设置为一级菜单;
③系统默认菜单不能选择

3)选择按钮组中的【批量设置使用限制】,所有菜单都可以选择,选中要设置的菜单再点击【批量设置使用限制】按钮,添加使用范围


4)选择按钮组中的【批量删除】,只有自定义菜单才可以选择,选中要删除的菜单后再点击【批量删除】按钮,可以批量删除选中的自定义菜单

6、如何设置个人通用菜单及菜单如何使用¶
1)个人通用设置菜单可进行菜单项是否显示/菜单项名称更改/菜单项显示图标更换等操作
①可以进行标准样式显示内容默认字体大小选择,并能同步到前端所有用户;
②可以控制个人菜单显示名、图标、显示位置等信息

2)全局设置包含【默认字体设置】和【默认布局设置】两个功能,如图A7-2-1所示,选择默认值后点击【同步到所有人】,所有用户前端首页都按默认值显示

3)菜单显示设置控制人员头像下的列表菜单在前后端是否显示,设置项说明如下
①自定义菜单名称:设置自定义显示名,如果不设置默认使用系统菜单名称;
②图标:点击更换显示图标库,可以选择图标库中的其它图标,图标库内容不能自定义;
③显示:选中则会在前后端显示;
④显示位置:个性化设置、修改密码和退出可以自定义显示位置,可以只在前端或后端显示,也可以前后端同时显示;
⑤使用限制:添加允许使用此菜单的用户,不设置表示所有人都可以用,设置后只有添加的人员才能使用这个菜单


7、如何在门户中添加新的文件模块¶
1)在后端的内容引擎→目录设置→文档目录中选择对应的单位,然后新建对应的目录

2)在目录中添加对应的共享权限及创建权限

3)在后端门户引擎→门户页面→登陆后页面找到对应的门户,点击门户名称,进入门户的编辑页面

4)选择左侧的文档中心元素,并添加在门户的适当位置中

5)再添加的文档中心元素的内容页面,添加内容来源

6)然后在每个来源中添加对应的目录路径

7)目录中的文档即可在门户中对应的模块中显示
8、如何在单位添加新的门户¶
1)后端点击门户引擎→门户页面→登陆后页面→点击对应的组织架构,然后点击新建

2)选择对应的门户页面布局

3)选择对应的门户样式,完成对应的布局设置及元素样式选择

4)完善对应的门户信息

5)根据文档中“如何在门户中添加新的文件模块”的场景添加门户中对应的元素和文档中心

6)然后保存对应的门户,启用并锁定

7)门户页面的菜单含义

①编辑:在门户列表菜单上有编辑按钮,点击后可以修改已有的门户设置,相关内容与新建门户内容一致
②预览:在门户列表菜单上有预览按钮,设置完门户并添加元素后可以通过此按钮查看门户设置效果
③另存为:除了在登录后门户设置上直接新建门户外,可以在门户列表菜单中点击另存为的方式创建新门户,用此方法的好处是选用门户的设置被完整新建了一份,管理员只需要根据要求调整部分设置即可使用,减少了管理员设置重复门户的工作量
④在门户列表页面上有【页面顺序维护】按钮,可以调整所有门户的显示顺序,点击按钮后显示如下

9、元素中样式设置¶
1)在元素设置页面中有【样式】设置页面,这里设置的是元素在门户中的显示样式

①元素样式:这个决定了元素在门户中以什么样式展示,元素的样式在【门户引擎】--【门户元素】--【元素样式库】中进行维护。
②元素图标:这里可以添加图标图片,添加的图片在元素标题栏的前面显示;
③高度:这里决定了元素在门户中的显示高度,如果设置为0,那么元素根据所要显示的内容自适应高度;
④间距:这里设置了元素在区域中与其它元素的间距及与区域边框的距离;
⑤tab页宽度:设置tab页宽度,默认为76px,可以显示4个中文字;
⑥tab页签始终显示:关闭时,元素只有一个tab页时不显示tab页签,多个tab页时才显示tab页签;如启用,则只有一个tab页时也会显示tab页签
10、元素中内容及共享页面设置¶
1)在元素设置页面有【共享】设置页面,这里设置元素在这个门户中的可查看范围,在范围之外的用户查看此门户的时候是看不到此元素的,共享添加方式与文档的共享方式一致

2)所有元素内容设置中有【显示表头】开关,开启后元素内容显示列表字段的名称

3)前端显示页面如下

4)每个元素都可以自定义显示列字段宽度,以文档中心举例说明,点开文档中心元素显示字段后如下

①自定义列宽:开启后下方显示字段可以自定义列宽;
②超出元素宽度后:控制设置的字段列宽如果超出元素显示宽度时处理方式,可以选择忽略超出宽度后的字段,或者以滚动条的方式显示元素显示列
11、如何设置门户的权限¶
1)门户权限分为管理权限和查看权限,管理权限是赋予用户单独维护指定的门户,查看权限是限定哪些用户可以在前端查看到此门户
2)在门户列表页面的列表菜单中有【维护者】按钮,点击后显示如下,可以通过所有人、人员、部门、分部、角色和岗位范围来添加允许维护此门户的人员,添加的人员不需要在角色中赋权就可以直接维护此门户

3)在门户列表页面的列表菜单中有【共享范围】按钮,点击后显示如图A8-5-2所示,设置方法与添加维护者一致,只有范围内的用户才能查看此门户

12、如何设置默认首页¶
1)默认首页是指用户登录后看到的页面,每个分部都可以指定不同的首页
2)点击默认首页设置菜单后,在组织结构树上选择每一个分部的门户,选择门户后会提示是否同步到下级节点,如果同步,当前分部下级分部默认首页也会同时设置

